TY1WW/NW50, Type I Window Wiper
Low Pressure Applications.
For low pressures of 15 PSIG/F.V. (1 Barg/F.V.), the Type I window wiper’s direct, thru-the-glass mechanism is simple, reliable, and wipes away residue on the inside surface of the lens. Temperature rating: 400 ºF (204 ºC) with PTFE blade, 350 ºF (177 ºC) with Silicon blade. Type I window wiper is available for NW50, NW80, NW100, NW125, NW150, NW200, SV80, SV100, and SV125. These wipers may also be used in combination with Series MSL and PL100 or larger illuminators.
All interior wetted parts of the Type I wiper are constructed of stainless steel.
Specifications
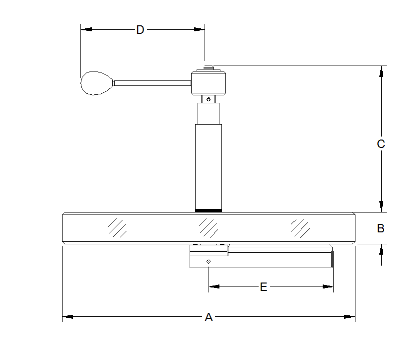
| Size | 50 mm |
|---|---|
| Dimension A | 3 15/16 in |
| Dimension B | 9/16 in |
| Dimension C | 3 5/8 in |
| Dimension D | 4 in |
| Dimension E | 1 in |
| Pressure Per Full Vacuum | 15 psig |
| Temperature Rating with PTFE Blade | 400 ºF |
| Temperature Rating with Silicon Blade | 350 ºF 177 ºC |
| Material | Stainless Steel |


